Корзина
ОформитьДелительные головки и их настройка
При обработке зубьев, шлицев, пазов, нарезании винтовых канавок и других операциях на фрезерных станках часто применяют делительные головки. Делительные головки, как приспособления, используют на консольных универсально-фрезерных и широкоуниверсальных станках. Различают простые и универсальные делительные головки.
Простые делительные головки применяют для непосредственного деления окружности вращения обрабатываемой заготовки. Делительный диск у таких головок закреплен на шпинделе головки и имеет деления в виде шлицев или отверстий (в количестве 12, 24 и 30) для защелки фиксатора. Диски с 12-ю отверстиями позволяют делить один оборот заготовки на 2, 3, 4, 6, 12 частей, с 24 отверстиями — на 2, 3, 4, 6, 8, 12, 24 части, а с 30 отверстиями — на 2, 3, 5, 6, 15, 30 частей. Специально изготовленные делительные диски головки могут быть использованы и для других чисел деления, в том числе и для деления на неравные части.
Универсальные делительные головки применяют для установки обрабатываемой заготовки под требуемым углом относительно стола станка, ее поворота вокруг своей оси на определенные углы, сообщения заготовке непрерывного вращения при фрезеровании винтовых канавок.
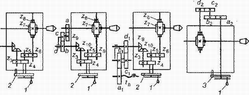
В отечественной промышленности на консольных универсально-фрезерных станках применяют универсальные делительные головки типа УДГ (рис. 1, а). На рис 1, 6 показаны вспомогательные принадлежности к делительным головкам типа УДГ.
На широкоуниверсальных инструментальных фрезерных станках используют делительные головки конструктивно отличающиеся от делительных головок типа УДГ (они снабжены хоботом для установки заднего центра и, кроме того, имеют некоторое отличие в кинематической схеме). Настройка головок обоих типов производится идентично.
В качестве примера на рис. 1, а показана схема обработки фрезерованием заготовки с использованием универсальной делительной головки. Заготовку / устанавливают на справке в центрах шпинделя 6 головки 2. и задней бабки 8. Модульная дисковая фреза 7 от шпинделя фрезерного станка получает вращение, а стол станка — рабочую продольную подачу. После каждого периодического поворота заготовки зубчатого колеса обрабатывается впадина между соседними зубьями. После обработки впадины стол ускоренно перемещается в исходное положение.


Рис. 1. Универсальная делительная головка УДГ:
а - схема установки заготовки в делительной головке (1— заготовка; 2 — головка; 3 - рукоятка; 4 - диск; 5 — отверстие; 6 - шпиндель; 7 - фреза; 8 — бабка);
б — вспомогательные принадлежности к делительной головке (1— шпиндельный валик; 2— передний центр с поводком; 3 — домкратик; 4 — хомутик; 5 — жесткая центровая оправка: 6— консольная оправка; 7— поворотная плита).
Цикл движений повторяется до полной обработки всех зубьев колеса. Чтобы установить и зафиксировать заготовку в рабочую позицию с помощью делительной головки, вращают ее шпиндель 6 рукояткой 3 по делительному диску 4 с лимбом. При попадании оси рукоятки 3 в соответствующее отверстие делительного диска, пружинное устройство головки фиксирует рукоятку 3. На диске с двух сторон концентрично расположены по 11-ть окружностей с числами отверстий 25, 28, 30, 34, 37, 38, 39, 41, 42, 43, 44, ^7, 49, 51, 53, 54, 57, 58, 59, 62, 66. Кинематические схемы универсальных делительных головок показаны на рис, 2. В универсальных лимбовых делительных головках вращение рукоятки 1 (рис. 2, а—в) относительно лимба 2 передается через зубчатые колеса Zs, Z6 и червячную передачу Z7, Zs шпинделю. Головки настраивают на непосредственное, простое и дифференциальное деление.

Рис. 2. Кинематические схемы универсальных делительных головок: а, б, в - лимбовые; г - безлимбовые; 1 — рукоятка; 2 — лимб делительный; 3 - диск неподвижный.
Метод непосредственного деления применяют при делении окружности на 2, 3, 4, 5, 6, 8, 10, 12, 15, 18, 24, 30 и 36 частей. При непосредственном делении отсчет угла поворота осуществляют по градуированному на 360" диску с ценой деления V. Нониус позволяет выполнять этот отсчет с точностью до 5', Угол а, град, поворота шпинделя при делении на z частей определяют по формуле а=3600/z, где z — заданное число делений.
При каждом повороте шпинделя головки к отсчету, соответствующему положению шпинделя до поворота, следует прибавить величину, равную значению угла а, найденному по формуле (5.1). Универсальная делительная головка (ее схема показана на рис- 2, а) обеспечивает простое деление на z равных частей, которое выполняют вращением рукоятки относительно неподвижного диска согласно следующей кинематической цепи:
1/z=пp(z5/z6)(z7/z8)
Где (z5/z6)(z7/z8) = 1/N; пp- число оборотов рукоятки; N- характеристика головки (обычно N=40).
Тогда
1/z=пp(1/N)
Откуда пp=N/z=A/B
Здесь А — число отверстий на которое нужно повернуть рукоятку, а В — число отверстий на одной из окружностей делительного диска. Сектор 5 (см. рис. 5.12, а) раздвигают на угол, ссответствующий числу А отверстий, и скрепляют линейки. Если левая линейка раздвижного сектора 5 упирается в фиксатор рукоятки, то правая совмещается с отверстием, в которое нужно при очередном повороте ввести фиксатор, после чего правую линейку упирают в фиксатор. Например, если нужно настроить делительную головку для фрезерования зубьев цилиндрического колеса с Z= 100, при характеристике головки N=40, то получаем
пр - N/z = A/В = 40/100 = 4/10 = 2/5 = 12/30, т. е. А = 12 и B= 30.
Следовательно, используют окружность делительного диска с числом отверстий В=30, а раздвижной сектор настраивают на число отверстий А = 12. В случаях, когда нельзя подобрать делительный диск с нужным числом отверстий применяют дифференциальное деление. Если для числа z на диске нет нужного числа отверстий, принимают число zф (фактическое), близкое к s, для которого имеется соответствующее число отверстий, Несоответствие (l/z- l/zф) компенсируют дополнительным поворотом шпиндели головки на эту равность, которая может быть положительной (дополнительный поворот шпинделя направлен в ту же сторону, что и основной) или отрицательный (дополнительный поворот противоположен). Такую коррекцию осуществляют дополнительным поворотом делительного диска относительно рукоятки, т. е. если при простом делении рукоятку поворачивают относительно неподвижного диска, то при дифференциальном делении рукоятку вращают относительно медленно вращающегося диска в ту же (или в противоположную) сторону. От шпинделя головки вращение диску передается через сменные колеса a—b, c—d (см. рис. 2, б) коническую пару Z9 и Z10 и зубчатые колеса Z3 и Z4.
Величина дополнительного поворота рукоятки равна:прл = N(1/z-1/zф)=1/z(a/b(c/d)(z9/z10)(z3/z4)
Принимаем (z9/z10)(z3/z6) = С (обычно С= I).
Тогда (a/b)(c/d)=N/C((zф-z)/zф))
Допустим требуется настроить делительную головку для фрезерования зубьев цилиндрического колеса с г = 99, Известно, что N-40 и С=1. Число оборотов рукоятки для простого деления Пф-40/99, Учитывая, что делительный диск не имеет окружности с числом отверстий 99, принимаем t= 100 и число оборотов рукоятки пф-40/100 = 2/5 = 12/30, т. е. берем диск с числом отверстий на окружности B = 30 и поворачиваем при делении рукоятку на 12 отверстий (А= 12). Передаточное отношение сменных колес определяем по уравнению
и = (a/b)(c/d) = N/C= (zф-z)/z) = (40/1)((100 - 99)/100) = 40/30 = (60/30) х (25/125).
Делительные безлимбовые головки (см. рис. 2) не имеют делительных дисков. Рукоятку поворачивают на один оборот и фиксируют на неподвижном диске 3. При простом делении на равные части кинематическая цепь имеет вид:
Учитывая, что z3/z4=N,
Получаем (а2/b2)(c2/d2)=N/z
Число оборотов рукоятки делительного диска при простом делении
|
Число частей, на которое требуется разделить деталь |
Число полных оборотов рукоятки |
Число отверстий, отсчитываемых сектором на окружности делительного диска |
Число отверстий на выбранной окружности делительного диска |
Число частей, на которое требуется разделить деталь |
Число полных оборотов рукоятки |
Число отверстий, отсчитываемых сектором на окружности делительного диска |
Число отверстий на выбранной окружности делительного диска |
|---|---|---|---|---|---|---|---|
|
2 |
20 |
- |
- |
23 |
1 |
17 |
23 |
|
3 |
13 |
11 |
33 |
24 |
1 |
22 |
33 |
|
4 |
13 |
10 |
30 |
25 |
1 |
20 |
30 |
|
5 |
13 |
13 |
39 |
26 |
1 |
26 |
39 |
|
6 |
10 |
- |
- |
27 |
1 |
18 |
30 |
|
7 |
8 |
- |
- |
28 |
1 |
21 |
39 |
|
8 |
6 |
22 |
33 |
29 |
1 |
26 |
54 |
|
9 |
6 |
20 |
30 |
30 |
1 |
21 |
49 |
|
10 |
6 |
26 |
39 |
31 |
1 |
9 |
21 |
|
11 |
5 |
35 |
49 |
32 |
1 |
11 |
29 |
|
12 |
5 |
15 |
21 |
33 |
1 |
11 |
33 |
|
13 |
5 |
- |
- |
34 |
1 |
10 |
30 |
|
14 |
4 |
24 |
54 |
35 |
1 |
13 |
39 |
|
15 |
4 |
- |
- |
36 |
1 |
9 |
31 |
|
|
3 |
21 |
33 |
37 |
1 |
4 |
16 |
|
|
3 |
13 |
39 |
38 |
1 |
7 |
33 |
|
16 |
3 |
10 |
30 |
39 |
1 |
3 |
17 |
|
17 |
3 |
3 |
39 |
40 |
1 |
7 |
49 |
|
18 |
2 |
42 |
49 |
41 |
1 |
3 |
21 |
|
19 |
2 |
18 |
21 |
42 |
1 |
6 |
54 |
|
20 |
2 |
22 |
33 |
|
1 |
3 |
37 |
|
21 |
2 |
20 |
30 |
|
1 |
1 |
19 |
|
22 |
2 |
26 |
39 |
|
1 |
1 |
39 |
|
|
2 |
8 |
16 |
|
1 |
- |
- |
|
|
2 |
15 |
30 |
|
- |
40 |
41 |
|
|
2 |
27 |
54 |
|
- |
20 |
21 |
|
|
2 |
6 |
17 |
|
|
|
|
|
|
2 |
12 |
54 |
|
|
|
|
|
|
2 |
2 |
19 |
|
|
|
|
|
|
2 |
- |
- |
|
|
|
|
|
|
1 |
19 |
2 |
|
|
|
|
|
|
1 |
27 |
33 |
|
|
|
|
Число оборотов рукоятки делительного диска при дифференциальном делении
|
Число частей, на которое требуется разделить деталь |
Число отверстий, на которое требуется повернуть рукоятку |
Число отверстий на выбранной окружности делительного диска |
Число зубьев сменных шестерён |
Число паразитных шестерён |
|||
|
На шпинделе |
1-ый промежуточный |
2-ой промежуточный |
На валу привода делительного диска |
||||
|
а |
б |
В |
Г |
||||
|
43 |
48 |
54 |
80 |
30 |
40 |
60 |
- |
|
44 |
30 |
33 |
- |
- |
- |
- |
- |
|
45 |
48 |
54 |
- |
- |
- |
- |
- |
|
46 |
20 |
23 |
- |
- |
- |
- |
1 |
|
47 |
25 |
30 |
50 |
- |
- |
60 |
- |
|
48 |
25 |
30 |
- |
- |
- |
- |
- |
|
49 |
40 |
49 |
- |
- |
- |
- |
- |
|
50 |
24 |
30 |
- |
- |
- |
- |
2 |
|
51 |
24 |
30 |
40 |
- |
- |
50 |
- |
|
52 |
30 |
39 |
- |
- |
- |
- |
2 |
|
53 |
24 |
30 |
60 |
- |
- |
25 |
- |
|
54 |
40 |
54 |
- |
- |
- |
- |
- |
|
55 |
24 |
33 |
- |
- |
- |
- |
- |
|
56 |
35 |
49 |
- |
- |
- |
- |
- |
|
57 |
15 |
21 |
- |
- |
- |
- |
1 |
|
58 |
22 |
33 |
60 |
- |
- |
30 |
- |
|
59 |
20 |
29 |
- |
- |
- |
- |
1 |
|
60 |
22 |
33 |
40 |
- |
- |
60 |
- |
|
61 |
22 |
33 |
- |
- |
- |
- |
- |
|
62 |
26 |
39 |
- |
- |
- |
- |
- |
|
63 |
36 |
54 |
- |
- |
- |
- |
2 |
|
64 |
22 |
33 |
40 |
- |
- |
60 |
- |
|
65 |
20 |
31 |
- |
- |
- |
- |
2 |
|
66 |
22 |
33 |
60 |
- |
- |
30 |
- |
|
67 |
10 |
16 |
- |
- |
- |
- |
- |
|
68 |
24 |
39 |
- |
- |
- |
- |
- |
|
69 |
20 |
33 |
- |
- |
- |
- |
1 |
|
70 |
28 |
49 |
60 |
- |
- |
35 |
- |
|
71 |
10 |
17 |
- |
- |
- |
- |
1 |
|
72 |
28 |
49 |
40 |
- |
- |
70 |
- |
|
73 |
28 |
49 |
- |
- |
- |
- |
- |
|
74 |
12 |
21 |
- |
- |
- |
- |
2 |
|
75 |
12 |
21 |
40 |
- |
- |
70 |
2 |
|
|
28 |
49 |
40 |
- |
- |
70 |
- |
|
|
30 |
54 |
- |
- |
- |
- |
2 |
|
|
12 |
21 |
60 |
- |
- |
35 |
2 |
|
|
28 |
49 |
60 |
- |
- |
35 |
- |
|
|
20 |
37 |
- |
- |
- |
- |
- |
|
|
16 |
30 |
- |
- |
- |
- |
|
Официальный интернет магазин компании ПМ техно в Москве. Продажа станков, инструмента, оснастки по всей России. © 2025