Корзина
ОформитьСтанок профилегибочный ручной STALEX TG-50
Stalex TG-50 – механический профилегиб с наружными роликами, удобен при работе с заготовкой «колесо» или «круг». Рабочие ролики легко выдвигаются с валов для съёма получаемой заготовки. Предназначен для гибки труб профильного и круглого сечения из металла или другого материала по заданному радиусу, методом прокатки.
На верхнем прижимном ролике крепится рычаг (ручка) для прокатывания заготовок. Толщина стенки профильной и круглой трубы 1.5-2 мм.
- Профильная труба – макс. размер 50х30х1,5мм (плашмя).
- Профильная труба – макс. размер 30х30х2мм.
- Круглая труба - макс. размер Ø30х2мм.
Особенности конструкции:
- Все ролики изготовлены из Стали 45 (конструкционная углеродистая качественная) и закалены.
- Корпус станка покрыт порошковой краской - это защищает станок от коррозии и мелких повреждений и продлевает срок службы станка.
- Стопорная гайка на ходовом винте позволяет изготавливать изделия с высокой повторяемостью.
- Усиленный ходовой винт с крупным шагом резьбы для более простого вращения.
- Удобная ручка вращения ходового винта.
- Станок обязательно крепится к верстаку.
|
|
Закаленные ролики
Долгий срок службы гарантируют установленные на всех станках STALEX серии TR и TG закаленные ролики из конструкционной углеродистой качественной стали 45. Твёрдость закалки металла – около 40HRC. В конструкции роликов применены подшипники, обеспечивающие легкость и простоту использования.
|
|
|
Стопорная гайка Стопорная гайка фиксации на ходовом винте для изготовления изделий с высокой повторяемостью.
|
|
|
Корпус станка Корпус станка изготовлен из высокопрочной стали марки 3 толщиной 8 мм для STALEX TG-50. В комплекте поставляется удобная изогнутая ручка на вращение прижимного ролика.
|
|
|
Регулируемые ролики Закаленные нижние ролики возможно регулировать под размер профильной трубы от от 15х15 до 40х40 и 50х30мм.
|
|
|
Профилегиб с наружными роликами Удобен при работе с заготовкой «колесо» или «круг», после получения нужного профиля, отодвигается верхний ролик для снятия заготовки со станка. |
|
|
Порошковая покраска Все станки окрашены порошковым методом, что продлевает срок эксплуатации, защищает оборудование от ржавчины и коррозии.
|
|
|
Усиленный ходовой винт Усиленный ходовой винт облегчает вращение и прижим трубы. На винте используется трапецеидальная однозаходная резьба, что гарантирует более долгий срок службы.
|
|
Таблица гибки для разных заготовок |
||||
| Сталь, мм | 20х20х2 | 25х25х2 | 30х30х2 | 40х40х1.5 |
| Медь, мм | 20х20х2.2 | 25х25х2.2 | 30х30х2.2 | 40х40х2.2 |
| Алюминий, мм | 20х20х2.5 | 25х25х2.5 | 30х30х2.5 | 40х40х2.5 |
| Минимальный радиус, мм | 150 | 160 | 240 | 250 |
| Минимальный диаметр, мм | 300 | 320 | 480 | 500 |
* На тонкостенных трубах до 1,5мм возможны заломы при гибке заготовок, данный эффект распространён на всех трубогибах методом прокатки не зависимо от поставщика и модели. При работе с тонкостенной заготовкой - эффект устраняется при помощи заполнения заготовки песком.
| Технические данные | |
| Максимальное расстояние между верхним и нижними роликами |
55 мм |
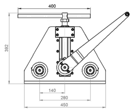
| Межосевое расстояние между нижними роликами |
280 мм |
Станок предназначен для работы с заготовками из низколегированной стали (основное применение – строительство теплиц, навесные конструкции, козырьки, гибка в кольцо, бытовое использование и прочее), для производства изделий из высоколегированных и нержавеющих сталей станок не предназначен.
Характеристики
- Вид товара Ручные профилегибы (трубогибы), трубоприжимы, труборезы
- Диаметр роликов, мм 65
- Рабочая длина, мм 46
- Размер квадратной трубы, мм 30x30x2
- Размеры трубы, мм 30x2
Размерные параметры оборудования
- Макс. размер прямоуголной трубы, мм 50x30x1.5
Габаритные размеры и масса
- Габариты, мм 500х350х400
- Масса, кг 40
Дополнительная комплектация
- 1) Комплект роликов для работы с профильной трубой от 15х15 до 40х40 и 50х30мм,Ролики под круглую трубу – до Ø30мм
- Уточняйте у менеджера
- Артикул: 101210
Возможно вам будет интересно
Мы быстро реагируем на запросы потребителей и осуществляем комплектацию и отгрузку продукции по всей России и СНГ
Офисы продаж в регионах
Официальный интернет магазин компании ПМ техно в Москве. Продажа станков, инструмента, оснастки по всей России. © 2025






